手機號
未認證執照
黎美玲(女士)

普通會員
黎美玲 (女士)
真空吸盤是真空系統中最為常見的一個部件,隨著科技的迅速發展,真空吸盤已經廣泛使用在各個行業,真空吸盤是一個興起不久的產品,大家對它可能還不熟悉,其實真空吸盤的工作原理很簡單,就是與氣源和真空發生器一起使用,把真空發生器與真空吸盤想連接,把真空吸盤里面的空氣抽取,形成一個負壓,然后就吸起物件。購買真空元件找東莞思泉自動化,臺灣原裝進口,質量保證,價格實在,為各位廠商提供優質高性價比的國內外知名產品,并提供領先的技術支持
東莞思泉公司銷售的真空元件品牌有:臺灣妙德、smc、pisco三大品牌,產品有:真空吸盤,真空發生器,真空泵,真空氣缸等。各系列型號價格優,貨期快,品質保證,真空元件廣泛應用各個行業:如在建筑、包裝設備,造紙工業及印刷、玻璃等行業,實現吸持與搬送玻璃、紙張、紙箱等薄而輕的物品的任務,本司承諾各品牌原裝進口,為各位廠商提供優質高性價比的國內外知名產品,并提供領先的技術支持,歡迎新老顧客來電咨詢!
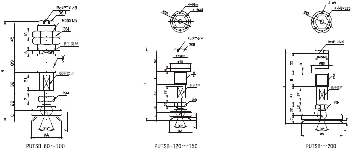
putsb/puysb帶金屬支架附緩沖搖擺吸盤具備特點:
1.搖擺型吸盤,具備平行萬向功能,適合吸表面不水平的工件
2.吸盤尺寸有10mm-200mm多種可選
3.吸盤材質有:丁氰 橡膠,硅膠,導電硅膠等.
4.緩沖行程有4mm-100mm多種可選
5.真空氣管方向橫向和縱向兩種可選
6.氣管接頭為快速接頭
putsb/puysb帶金屬支架附緩沖搖擺吸盤訂購圖:

putsb/puysb帶金屬支架附緩沖搖擺吸盤外形尺寸圖:







| 聯系人 | 需求數量 | 時間 | 描述 |
|---|---|---|---|
| 暫無產品詢價記錄 | |||
| 采購商 | 成交單價(元) | 數量 | 成交時間 |
|---|---|---|---|
| 暫無購買記錄 | |||
地區:三明
主營產品:木荷苗,楓香苗,油茶苗地區:成都
主營產品:電磁閥,氣缸,過濾器地區:武漢
主營產品:洪山公司注冊,洪山注冊公司,洪山代理記賬地區:武漢
主營產品:東西湖公司注冊,東西湖代理記賬,東西湖代賬公司